Efter mycket läsande, räknande och grubblande så är jag nu äntligen klar med de flesta kort som jag måste etsa själv. Det har även tagit en hel del tid att bestämma sig för hur de kort jag köper från
ESP skall bestyckas. Alla delar från ESP och ebay beställda men det kommer ta tid innan försteget är klart. Långa leveranstider och så har Postnord "tappat bort" två, kanske tre paket så gud vet när jag väl har allt jag behöver?!?
Med
funktionellt försteg avser jag inte ett försteg fullt av funktioner (sådana har jag redan). Nej jag avser ett försteg med bara de funktioner jag behöver men framförallt ett försteg där varje funktion är mer eller mindre självklar. Vad menar jag med det? Ta vanliga tonkontroller som exempel, eller ändå värre PEQ. De erbjuder en oändlig kombination av inställningar men endast en eller ett fåtal är de du behöver. Antingen blir det ett evigt rattande eller så rattar man inte alls. Inte särskilt effektivt. Så för detta försteg så har jag försökt tänka i banorna -
behöver jag verkligen den här funktionen? Om funktionen innebär mer än ett alternativ så är nästa fråga -
hur få alternativ kan jag klara mig med? NOOLOM är ett bra exempel som alternativ till tonkontroller och loudness-knapp. Jag tror jag klarar mer än 80% av mina behov av att justera tonen med NOOLOM. Tre knappar, åtta olika alternativ, varken mer eller mindre och förhållandevis självklart hur de skall användas i varje given situation. Baserat på den funktionella principen så har jag tänkt mig följande funktioner på frontpanelen.

- Frontpanel
- PreampFrontpanel.png (18.55 KiB) Visad 7476 gånger
Först har vi NOOLOM som får stå för tonkontroll. Försteget skall främst användas för vinyl så mono-brytaren vill jag inte vara utan och detsamma gäller balanskontroll. Volymkontroll kommer delas mellan försteget och hörlursförstärkaren. Val av källa är självklart och val att mata ut signalen via hörlursjacket i stället för till förstärkaren. Få men självklara funktioner på frontpanelen. Försteget erbjuder dock några fler funktioner men de sitter på insidan eftersom det är inställningar som inte ändras så ofta och då behöver de inte vara tillgängliga på frontpanelen. Inställningsmöjligheterna framgår inte direkt av blockschemat men först och främst så finns nivåreglering för CD-ingången. Det är enda stället jag tror jag kommer använda den om jag någon gång ansluter en CD-spelare utan egen nivåkontroll (så kan jag reglera ned den i nivå med RIAA-förstärkaren). Jag har valt att flytta rumble filter så det delas av alla källor. Det går att kopplas förbi men inte på frontpanelen. Detsamma gäller för crossfeed för hörlurarna. Hörlursförstärkarens utimpedans kommer vara riktigt låg, behöver den justeras så får det göras inne i lådan och inte via brytare på fronten.

- Blockdiagram
- PreampBlockDiagram.png (55.56 KiB) Visad 7476 gånger
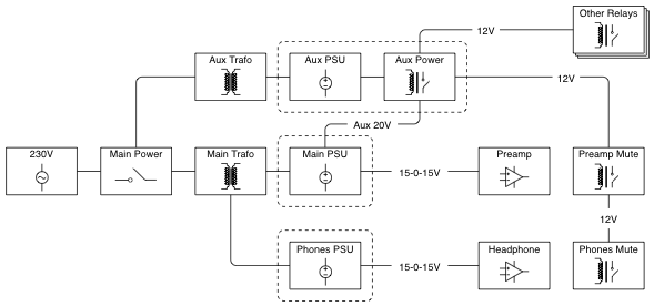
Till sist har vi kraftmatningen. Det blir en separat transformator till alla reläer och en gemensam för försteg och hörlursförstärkare. De får dock var sitt reglerat kraftaggregat då lurarna kan dra rätt mycket mera ström än slutsteget. Det aux-relä som drivs av huvudkraftaggregatet är det som kommer aktivera kraftmatningen av reläerna. Utgångsbrytaren kommer sedan välja vilket muting relä som kommer aktiveras för utgången, antingen preamp eller headphones (beroende på hur output brytaren står). Detsamma gäller alla andra reläer som kommer aktiveras i förhållande till hur brytarna står på fronten står. Så nu är det bara det trista jobbet kvar. Att gå igenom varje BOM och lägga en order hos Mouser på alla komponenter som är kvar. Det känns som en sjukt lång lista...

- Kraftmatning
- PreampPowerDiagram.png (26.93 KiB) Visad 7476 gånger
Jag vill passa på och tacka er som bidragit i den här tråden. Ni kanske inte tror det men ni har varit till stor hjälp i tankeprocessen.
