Juanth har ställt en del frågor i annan tråd. Jag väljer att ge mitt svar till juanth i denna tråd.
Mitt svar blev betydligt längre och med uppförstorade bilder från Stigs patent, så inlägget är lite av en uppföljning av mina tidigare inlägg gällande Stig Carlsson och det Ortoakustiska.
Jag har numrerat juanths frågor och undringar.
juanth skrev:petersteindl skrev:Det där som man ser är waveguiden på
120 135 grader till mellanregistret. Stig hade även en waveguide på 90 grader. Han var inte riktigt tillfreds med någon av dessa och ville nog optimera mera.
Med vänlig hälsning
Peter
Peter
1.) Minns du i vilken vinkel mid & diskant lutar bakåt i när ni höll på?
Jag & Rille landade i 15 grader. I patentet anges 15-30 grader.
2.) Om man har den i 15 grader så blir studsen neråt att det ger 15 grader uppåt, vilket är ungefär rakt mot lyssningsplats.
3.) Ljudet som går upp i klossen ger -15+45= 30 grader, dvs över lyssningsplats.
4.) Om man väljer 22,5 grader lutning bakåt så ger det 22,5 grader både nedtill och i klossen.
5.) I 30 graders lutning så blir det 30 grader från underdelen och 15 grader via klossen. Egentligen samma total förenklat sett, beror ju lite på använd middomes egenskaper off axis och kanske något lite på gångväg och tid. Tänker jag rätt?
6.) Har du några tankar kring detta?
7.) Provade ni olika lutning då hos AVR 7000?
8.) Funderade ni på hur olika lutningar skulle falla ut?
9.) I trevägaren som finns hos stiftelsen så är lutningen 30 grader.
10.) En anledning till att jag frågar är att efter en genomgång av projektet så kan vi konstatera att vi nog närmat oss en högre direktljudskvot än Stig hade tänkt sig. Det låter i mina öron mycket bra och vi har fått väldigt fin återkoppling men det gnager lite.
11.) Vi har så att säga använt oss av konstruktionens främsta fördelar gällande hur den hanterar begränsningsytor och reflexer som därigenom når lyssnaren i fas med direktljudet men möjligen missat en del kring energikurvan och kvoten mellan direkt och reflekterat ljud.
12.) Stig nämnde att han närmade sig Ino i den här konstruktionen men vi har närmat oss mer. Eller fjärmat oss mer…
13.) Vi har även gjort klossen större tex. Vi ansåg att det behövdes ändras för adekvat stöd kring delning kring 900 Hz.
14.) Det leder till att avstånd mellan middomen och diskanten ökar rätt mycket jämfört med prototypen/trevägaren. Vilket i sin tur ger något annan klang för stående lyssnare.
Det är möjligen (osäker) inte aktuellt att ändra så mycket på den fyrvägare som byggts nu men då kanske för ett eventuellt nästa bygge/fortsatt undersökande.
15.) En annan sak jag noterat är att det blir bäst integration mellan triangel och middome när den inre vingen är parallell med framvägg, och även reflexer bör då likna de som tar sig över vingen och når framvägg.
16.) Att öka öppningsvinkeln för hornet 135-> 141 grader borde kunna ge att man lyssnar mer on-axis på både middomen och diskanten om utgångspunkt är att den inre vingen ska hållas parallellt med framvägg. Det blir då motsvarande 22-23 graders invinkling. Någon åsikt om det resonemanget?
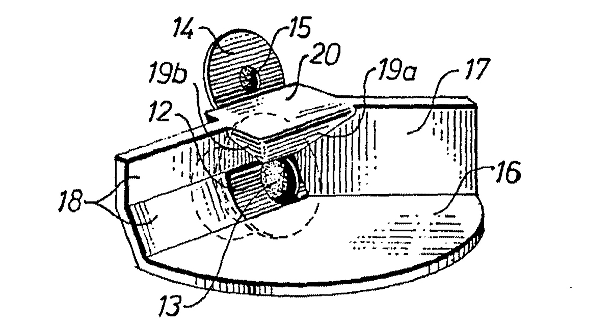
Först vill jag nämna att jag ändrat i mitt gamla inlägg från 120 till 135 grader som var den horisontella vinkel som den ena varianten på trattarrangemanget var på. Jag skrev fel tidigare. 120 grader är den vinkel Stig ville prova.
1.) Vad gäller vertikal lutning så var det 30 grader på 3 och 4-vägaren. Det är den undre delen av nr 18 det gäller, samt nr 14, d v s direktljudsdiskantens front.
2.) Här förstår jag inte hur du tänker. Vinkeln på huvudstrålriktningen från "studsen" neråt beror på avståndet från membranet till begränsningsytan neråt.
Stig Carlsson använde ofta uttrycket "Huvudstrålrikning". Det handlar inte om strålningsriktningen mot huvudet. Det handlar om den huvudsakliga strålningsriktningen.
Det är oftast normalen mot membranet som strålar ut ljud. I de äldre Carlssonhögtalarna t.ex. OA2212 så handlar det om kombinationen av högtalarelementens huvudstrålriktning i respektive frekvensregister.
Huvudstrålriktningen i Carlssonhögtalare är inte direktljudets riktning! Det är ett faktum som är viktigt att komma ihåg.
Det får till följd att kvoten mellan direktljud och reflekterat ljud minskar i förhållande till om huvudstrålriktningen = direktljudets riktning.
Inom parentes kan sägas att alla som har vanliga traditionella "direktstrålande" högtalare och använder/föredrar dessa riktade med On-axis rakt fram, d v s huvudstrålriktningen är i normal mot högtalarnas bakre vägg och på så sätt kanske 20 grader off-axis mot lyssnaren istället för att vrida högtalarna med direktljudet On-axis/huvudstrålriktningen, föredrar en minskad kvot av direktljud kontra reflekterat ljud. Samma gäller de som har höger/vänster högtalarnas huvudstrålriktningar korsande framför lyssnaren. Det är så som de flesta Carlssonhögtalare är dimensionerade.
2.) forts. Det du tänker på är huvudstrålningsriktningen från membranet, men du måste ta hänsyn till avståndet till reflexen från membranets yta.
3.) Även här tycker jag det blir konstigt. Ja, huvudstrålriktningen från membranet har sin vertikala riktning beroende på des vertikala lutning pga (18), men klossens yta (20) kan komma in. Jag är dock tveksam till att den kommer in i ekvationen i domens frekvensregister annat än dess överta oktav.
4.) Jag inser inte riktigt skillnaden, annat än att membranets vertikala huvudstrålriktning då ser tratten mellan (16) och (19a) symmetriskt.
5.) Se mitt svar 4.
6.) Betänk att horisontellt har diskanten en huvudstrålriktning 45 grader, medans tratten till mellanregisterdomens huvudstrålriktning är 67,5 grader. Detta gäller även om membranets huvudstrålritningar sammanfaller till 45 grader.
Här finns en osymmetri som jag tror inverkar mer horisontellt än vertikalt.
Nedan är bilder gällande dessa högtalare. Bilderna är från Stigs patent.

- SE447438 B bild sida 16_a 144.jpg (252.86 KiB) Visad 11356 gånger

- SE447438 B bild sida 16_b 144.jpg (427.4 KiB) Visad 11356 gånger

- SE447438 B bild sida 17.jpg (291.6 KiB) Visad 11356 gånger
7.) Inte vertikalt, men vridning horisontellt, ja. Vi provade även trattens avstånd till närmaste vägg och fann att avståndet helst skulle närma sig noll.
8.) Det diskuterades lite men inget avgörande. Jag gjorde dock det för mig själv. Vill egentligen inte kommentera detta. Men betänk att man från varje register tittar på huvudstrålriktningen, både vertikalt och horisontellt och samtidigt lägger in plana ytor som t.ex. utgör ett slags horisontellt referensplan mellan exempelvis triangelbasen och middomen så blir det horisontella planet inte horisontellt, utan vinklat snett, istället för horisontellt som ju de flesta högtalare med vertikalt placerade högtalarelement har. Skissar man sådana plana ytor på både höger och vänsterhögtalare så blir skärningen mellan dessa vinklade plan en och endast 1 linje. Det känns inte riktigt bra i min akustiska psykoakustikvärld. Med vanliga högtalare handlar dessa plan om att de sammanfaller och därmed utgör ett horisontellt plan d v s samma horisontella plan från båda. Jag menar det plan som man får fram genom att ta ekvidistans från de olika elementen runt delningsfrekvensen. Ett slags ekvi-fas-plan och då har samma akustiska summation. Jag tror det kan vara en fördel med ett konstant horisontellt plan. Jag lyssnade ganska ingående gällande detta fenomen på plats hos AVR och lyssnade från flera olika platser runt sweet-spot, men jag sa inget till någon. Det som jag uppsnappade var att alla föredrog sweet spot och mycket mer än vad jag hört gällande några andra högtalare. Jag har hållit detta för mig själv. Däremot tror jag att Stig visste betydligt mer om trevägarens problematik än vad han yttrade eller antydde. Stig nämnde mest högtalarelements tillkortakommanden. Men om dessa funnits, så är jag inte säker på att Stig bibehållit högtalaren exakt som tidigare.
9.) Precis.
10.) Jag kan förstå att det gnager. Men var inte rädd för att experimentera. Kämpa på! Det viktigaste är att åstadkomma ett spelande spegelpar som första arbetsprototyp. Sedan är det lyssning under en viss tid som gäller. Därefter kan fortsättning med förfiningar ske.
11.) Ibland får man lägga vissa saker på hyllan för att optimera vissa andra saker. Det är fullt naturligt att återkomma till vissa saker då man känner sig mer mogen. Att koncentrera sig på allt samtidigt ger härdsmälta. Det blir för mycket.
12.) Ingen kommentar från mig gällande detta.
13.) Det kan mycket väl vara så. Det gäller då delningen neråt d v s HP.
14.) Har inte funderat på detta. Det finns många vägar att gå gällande detta. Datorsimulering med superprogram är grejen.
15.) Vad menar du med framvägg?
16.) Resonemanget är helt korrekt. Det kan vara en fördel gentemot 120 grader. Dock skulle jag själv ta reda på middomens horisontella huvudstrålriktning
med 135-tratt och sedan möjligtvis vinkla diskanten till samma horisontella huvudstrålriktning. En annan sak, jag gillar inte att ha en naken plan cirkulär diskantfront på en domediskant. Det ger mig rysningar.
jag har kortat ner patentskriften till det väsentligaste och lägger nu upp den texten.

- PATENTVERKET publiceringsnummer 447438 sammanfattning_Sida_1.jpg (755.76 KiB) Visad 11356 gånger

- PATENTVERKET publiceringsnummer 447438 sammanfattning_Sida_2.jpg (655.1 KiB) Visad 11356 gånger
Slutligen vill jag påstå att det är mycket få som känner till högtalarhörnplaceringens (3 begränsningsytor) akustiska innersta väsen. Det är en lurig placering.
MvH
Peter
VD Bremen Production AB + Ortho-Reality AB; Grundare av Ljudbutiken AB; Fd import av hifi; Konstruktör av LICENCE No1 D/A, Bremen No1 D/A, Forsell D/A, SMS FrameSound, Bremen 3D8 m.fl.